临时文档
直链测试
一次切换重启
乱纪元
WINDOWS备忘录
5G模块
CLR20r3
蓝屏文件日志文件提取
CPU-Z
做个PE进入PE
英特尔桌面处理器对照表
PC各种档次电源转换效率区别
MM-Wiki
视频VIP解析
测试
野路子下载器
图片压缩
BIOS设置_核显 显示输出Auto、IGFX、PEG、PCI
电子应用要点
条件 定义 名称
图纸常用元器件速查
智能终端维修(在线学习600题
常见故障思路
BIOS
BGA
接口电路
充电电路/176
不触发不开机故障维修思路
EC刷写
6-10代时序
哎朋
MACBOOK信号
电路深度睡眠待机与主待机供电相关知识讲解
使用 Apple Configurator 2 修复或恢复基于 Intel 的 Mac - 官方 Apple 支持 (中国)
mac book通病
显卡工作过程
台式显卡
500时序 700时序
锐龙时序
台式机电源供电
电流检测 主供电
台式常见问题
15代处理器 800桥
常见通病常见笔记本
N卡功率检测芯片
本文档使用 MrDoc 发布
-
+
首页
电子应用要点
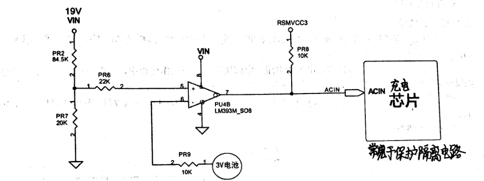
## 电感 代号 L PL 保险丝 FB F 电感器(电感线圈)是用绝缘导线(例如漆包线、纱包线等)绕制而成的电磁感应元件,是一种在磁场中储存能量的器件。也是电子电路中常用的元器件之一, ==在电路中的作用有;滤波、抗高频干扰、储能等,一般小电感是起滤波作用,大电感起储能作用== ### 单位 “亨利”(H),还有毫享(mH)、微亨(uH)、纳亨(nH) ## 代号 ==电感用L、PL标示 也有电感作保险作用的保险电感FB,保险丝用F表示== ### 符号  ### 判断好坏--替换原则 观察外观是否破损发黑 用二极管档或蜂鸣档红黑表笔轻轻夹着电感测量为0正常,无限大为损坏 贴片电感/保险丝找相同大小的替换,有些电路也可以直连,封闭式电感找电感量一致的替换不能直连! ### 标识 读数 举例   数字中间的R表示的是小数点(点),例如:R22表示的是0.22uh,3R3表示的是3.3uh,4R7表示的是4.7uh。 ## 晶振 代号 X-Y-W ·PCH时钟模块的24MHz、25MHz、38.4MHz晶振、RTC电路的32.768KHz晶振网卡的 25MHz晶振、独立显卡的27MHz晶振、APU的48MHz…… ### 判断 代换 ==替换法 万用表电压档测量两脚压差0.2左右,示波器测量频率是否为图纸的标识一样== ## 电容 C PT PC PTC CN 单位 法拉 简称法 符号:F 常见的电容容量有微法(F)、纳法(nF)、皮法(pF)(微微法) 换算: 1法拉(F)= 1000毫法(mF)、1毫法(mF)=1000 微法(μF) 1微法(μF)=1000纳法(nF)、1纳法(nF)=1000皮法(pF) ==参数:耐压值 两脚内承受的最大电压 容值 电容的容量== ==种类 有极性:电解电容 钽电容 固态电容 无极性 :贴片电容== ==除钽电容是标记为正极外,其他电容标记为负极== ==特性:充放电、通交流隔直流、通高频、阻低频、滤杂波 电容两端的电压不能突变== ### 判断以及替换 看其外观如有变形、变色、鼓包、漏液、发霉、裂痕为坏 拆下来万用表电容档测容值相差不大,或者二极管档测量无穷大 替换原则:耐压,容值均不于原值 **滤波电容**:用在电源电路中,电路中只要有一个引脚接地的电容,就是滤波电容,用来滤除高频杂波,同时电容在电路中的作用有储能作用,便供电更稳定 **谐振电容**:谐振电容采用贴片电容,仅使用在晶振电路中,一般的容值大小为几十PF,分别接晶振的两个引脚和地之间,谐振电容的参数会影响到晶振的谐振频率和输出幅度。代换时要同位置代换,不可不装 **耦合电容**:耦合电容通常采用贴片电容,应用在PCI-E和SATA的信号线上,其特征是串联在信号电路中作用是用来隔离直流,并保证高速信号的传输。代换时要同位置代换 两端不接地可能两端都有数值 ### 串联 并联 ==电容并联:容值增大,耐压值等于较小的一个; 电容串联:耐压值相加、容量变小[容量=(C1xC2)/(C1+C2)]== ## 电阻 R PR 排阻 RN RP 电阻,对电流有阻碍作用的物质称之为电阻。 较大的单位有千欧(kΩ)、兆欧(MΩ)。1MΩ=1000KΩ 1KΩ=1000Ω; 12=1000mΩ(毫欧) 普通电阻的读数和电感一致 精密电阻有查表法 无标识电阻 参照图纸 单位为(mil)密耳 ### 判断 替换 欧姆档测量数值和标识一致 原值原位置替换,不可不装 ### 应用 上下拉电阻 保护电阻 热敏电阻 ==上下拉电阻,接电压的为上拉电阻,接地的为上拉电阻 上拉就是将不确定的信号钳位在高电平,同时起限流和隔离作用,下拉电阻接地起限流和隔离作用 线路中同时又上拉和下拉既构成分压电路, 公式:Ua=U总/(R1+R2)X R2==   ==电阻串联阻值变大 并联阻值变小 == ### 保护电阻 保护电阻:这种电阻起到的是保护作用,当电路负载变大,超出电阻所能的承受范围,电阻将变为开路状态 使相应电路停止工作,从而达到保护元件的目的,保护电阻一般都为10欧姆以下。(一次性) ### 热敏电阻 正 PTC 负 NTC 温度升高时,值随之变大的电阻叫正温度系数热敏电阻(PTC 温度升高时,阻值反而变小的电阻叫负温度系数热敏电阻(NTC 常用于温度检测 ## 二极管 D PD VD 有标记的一端为负极。 ### 特性 ==当二极管的正极电压大于负极电压(正偏)时,并且越过它的压降,二极管导通。反之正极电压小于等于负极电压(反偏)时二极管截止 二极管的电流只能从正极流向负极, 正极电压大于负极,越过压降才能导通。==  ### 二极管的导通值和压降 导通值:指万用表测量的二极体值,即万用表打到二极管档位,红笔接二极管正极、黑笔接二极管负极,此 时显示的数值为二极体值。 硅管(si):导通值300~ 800左右、导通压降0.7v左右, 锗管(Ge):导通值100~ 300左右、导通压降0.3V左右 相对值受温度电流的影响会有压降受化 时显示的数值为二极体值。 ### 类型  #### 稳压二极管 利用二极管被反向击穿后,在一定反向电流范围内反向电压不随反向电流变化这一特点进行稳压的。 **稳压二极管工作原理**:稳压二极管一般正极接地用于稳压,当负极电压小于其稳压值时,稳压管不工作,当负极电压大于其稳压值时,二极管反向导通工作在击穿状态,使负极电压保持在稳压值范围内。  同位置同志代换,不可不装 ### 判断 将二极管拆下后,将万用表二极管档,红表笔接正极、黑笔接负极,若测得一组数值100-800为正常 反接后无穷大, 如果正反接都都为0为击穿 ### 应用 复合二极管的特点,公共脚在上边。  二极管的降压作用,利用二极管自身的压降进行降压  #### 门应用 ①二极管的或门应用:停电时用3VBAT供电,插电后用5VALW供电,以此节省电地电量,可以保证VCCRTC始终有  二极管的与门应用:三极管的正极连一起,由3V通过电阻上拉为3V高电平,只要二极管负极的任意一个信写 平时,二极管将会导通,将正极电压拉低,只有负极信号全部为高电平时,正极才能维持高电平  ①二极管的钳位作用 钳位:二极管负极电压高于负极电压+二极管压降=钳位电压  ## 三极管 Q、PQ或VT 三极管,全称为半导体三极管,也叫双极型晶体管,是一种电流控制电流的半导体器件,其作用是把微事大成辐值较大的电信号,也用作无触点开关。笔记本主板中几乎全部是开关作用。 NPN型和PNP型三极管两种  ==基极 B,集电极C,发射极E== ==箭头向内 普通NPN型:B>E 0.7v时,B-E导通,C-E也导通,B≦E时截止。 箭头向外 普通PNP型:B<E 0.7v时,E-B 导通,E-C也导通,B≧E时截止== ## MOS管 Q、PQ、VT、U电  N沟道和P沟道内部的二极管称为“**体二极管**”或者“寄生二极管”,此二极管不受控:只要正极有电压负极就会有输出,但电流小 ==(自导通电流小有压降)== 注意!所有的芯片都是逆时针数脚位! ### 8脚单管的特征: ①1脚2脚3脚内部相连是S极 ②5脚6脚7脚8脚内部相连为D极 ③4脚独立为G极  注意!所有的芯片都是逆时针数脚位! 8脚单管的特征: ①1脚2脚3脚内部相连是S极 ②5脚6脚7脚8脚内部相连为D极 ③4脚独立为G极 ### 判断: Mos管的类型判断 ①G极和S极之间先短接放电。 @万用表调到二极管档。 @黑笔接D极,红笔接S极,测得有数值的就是N沟道,反之红笔接D极,黑笔接S极,有数值的就是P沟道。 8.3MOS 管的好坏判断 @先短接G和S极对 MOS 管进行放电。 @万用表打到二极管档, @测D/S 极正向有值 300~800欧,反向无穷大“1”@G/D和 G/S正反向都为无穷大“1”就是好的。 ### 导通条件 ==大功率N沟道MOS 管导通条件:== Vg>Vs 4.5V以上时,MOS管的D极和S极之间双向导通 Vg≦Vs时截止 小N沟道MOS管(芝麻管)工作条件: Vg>Vs 2.5V以上时,D\S极之间双向导通(完全导通) Vg≦Vs时截止 ==大功率P沟道MOS 管导通条件:== Vg<Vs 4.5V以上时,M0s 管的D极和S极之间双向导通(完全导通)Vg≧Vs时截止 Vg<Vs 2.5V以上时,D\S极之间双向导通(完全导通) Vg≧Vs时 截止 ## 门电路 门电路芯片的介绍 用于实现基本逻辑运算和复合逻辑运算的单元电路称为门电路。常用的门电路在逻辑功能上有同向器、反相器(非门)、与门、与非门、或门、或非门、与或非门、异或门等几种。“门”是这样的一种电路:它规定各个输入信号之间满足某种逻辑关系时,才有信号输出。 从逻辑关系看,门电路的输入端或输出端只有两种状态,无信号用“0”表示,有信号用“1”表示。 门电路是一个集成芯片,用“U”表示。五脚芯片 ### 同向器 同向器又叫跟随器、缓冲器,电路符号和真值表如图1-91所示,常见同相器型号:LVCO7、HCTO7、7407、7417 等等   ### 反向器 反向器也叫非门,电路符号和真值表如图1-94所示,常见非门型号:HCT14、7414、LVC14、04、05、06.   ### 与门 ==与相乘 或相加 ==   #### 与非门 ==与相乘 或相加 ==  ## 或门 ==与相乘 或相加 ==   ### 或非门 ==与相乘 或相加 ==    ## 比较器 运算放大器 一个 LM358 芯片中,集成了两个比较器,“IN1(+)”脚叫做同相输入端,“IN1(-)”脚叫做反相输入端 OUT叫输出端  比较器工作原理 当同相输入端电压高于反相输入端电压的时候,输出脚输出高电平;反之,当同相输入端电压低于反相输入端电压,则输出低电平。 即:+>-输出高,+<-输出低。 LM331是单路比较器,LM393是双路比较器,LM339是四路比较器,工作原理与LM358类似,区别如下 LM358输出高电平时,输出脚由芯片内部上拉,而LM393 等输出高电平时,是开漏(0pen-Drain)输出(悬空高阻态) 必须有外部上拉  比较器和运算放大器工作原理示意图  比较器在适配器检测电路的应用如下  运算放大器在温度检测电路的应用如下  ## 转换器 多路转换器/切换器(MUX),通常用于信号切换。引脚定义:S脚是控制信号,VCC是供电脚、GND是接地、B0/B1和A脚都是信号输入/输出脚;·转换器工作原理:S为控制信号,当S为低时,B0连接A,当S为高时,B1连接 A  转换器在电路中的应用 
root
2025年7月29日 15:49
转发文档
收藏文档
上一篇
下一篇
手机扫码
复制链接
手机扫一扫转发分享
复制链接
Markdown文件
PDF文档(打印)
分享
链接
类型
密码
更新密码